Honda
Shop In-Stock
ATVs
Shop In-Stock
Motorcycles
Shop In-Stock
Scooters
Shop In-Stock
Utility Vehicles
Shop In-Stock
11212 E. Kellogg Street
,
Wichita, KS
67207
316-358-7577
(text us)
Toggle navigation
316-358-7577
Wichita, KS
Home
Honda Models
Manufacturer Models
Inventory
All Inventory In Stock
New Inventory In Stock
Pre-Owned Inventory
Value Your Trade-In
Request a Model
Schedule a Test Ride
OEM Promotions
Pre-Qualify Now
Get Financing Now
Sale
Parts
Parts Department
Request Parts
Parts Viewer
Service
Service Department
Schedule Service
Warranty & Recall Look-Up
Financing
Get Financing Now
Pre-Qualify Now
Payment Calculator
About
Our Dealership
Our Team
Social Media
Reviews
Customer Survey
Newsletter Sign-Up
Employment
Events
Locations
Location & Hours
Contact
Parts Viewer
Home
›
Parts
›
Parts Viewer
Search by :
Part / Desc
VIN
Honda
*Please enter at least 3 characters
SEARCH
Manufacturer
Honda
ATVs
2008
TRX450ER A
VIEW WISH LIST
Select a Section
Show/Hide
AIR CLEANER ('06-)
ALTERNATOR ('06-)
BALANCER
BATTERY
CAM CHAIN@TENSIONER
CAMSHAFT@VALVE
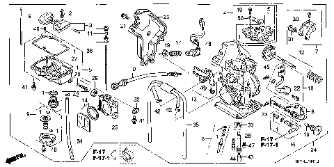
CARBURETOR ('06-)
CLUTCH
CRANKCASE ('06-)
CRANKSHAFT@PISTON
CYLINDER ('06-)
CYLINDER HEAD
CYLINDER HEAD COVER
FRAME
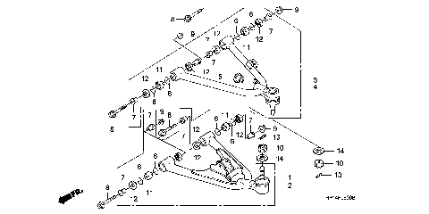
FRONT ARM
FRONT BRAKE CALIPER
FRONT BRAKE MASTER
FRONT FENDER ('06-)
FRONT SHOCK ABSORBER
FRONT WHEEL
FUEL TANK ('08)
GASKET KIT A
GASKET KIT B
GEAR SHIFT DRUM
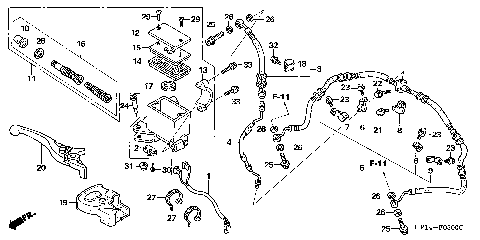
HANDLE LEVERS@SWITCHES
HANDLEBAR
HEADLIGHT ('06-)
KNUCKLE
LABELS
LEFT CRANKCASE COVER
MARKS
MARKS(2)
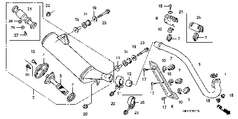
MUFFLER
OIL PUMP
PEDAL
RADIATOR ('06-)
REAR AXLE@DRIVE CHAIN
REAR BRAKE CALIPER
REAR BRAKE MASTER
REAR FENDER
REAR SHOCK ABSORBER
REAR WHEEL
RIGHT CRANKCASE COVER
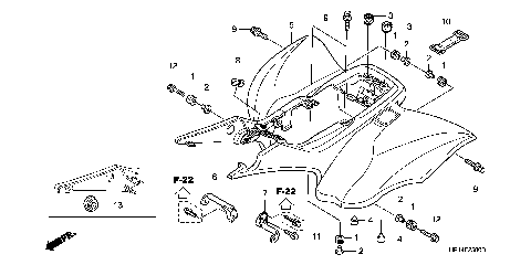
SEAT
STARTER MOTOR
STARTING CLUTCH
STEERING SHAFT
STEP
SWINGARM
TAILLIGHT
TIE ROD
TOOLS
TRANSMISSION
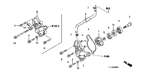
WATER PUMP
WIRE HARNESS ('06-)
AIR CLEANER ('06-)
ALTERNATOR ('06-)
BALANCER
BATTERY
CAM CHAIN@TENSIONER
CAMSHAFT@VALVE
CARBURETOR ('06-)
CLUTCH
CRANKCASE ('06-)
CRANKSHAFT@PISTON
CYLINDER ('06-)
CYLINDER HEAD
CYLINDER HEAD COVER
FRAME
FRONT ARM
FRONT BRAKE CALIPER
FRONT BRAKE MASTER
FRONT FENDER ('06-)
FRONT SHOCK ABSORBER
FRONT WHEEL
FUEL TANK ('08)
GASKET KIT A
GASKET KIT B
GEAR SHIFT DRUM
HANDLE LEVERS@SWITCHES
HANDLEBAR
HEADLIGHT ('06-)
KNUCKLE
LABELS
LEFT CRANKCASE COVER
MARKS
MARKS(2)
MUFFLER
OIL PUMP
PEDAL
RADIATOR ('06-)
REAR AXLE@DRIVE CHAIN
REAR BRAKE CALIPER
REAR BRAKE MASTER
REAR FENDER
REAR SHOCK ABSORBER
REAR WHEEL
RIGHT CRANKCASE COVER
SEAT
STARTER MOTOR
STARTING CLUTCH
STEERING SHAFT
STEP
SWINGARM
TAILLIGHT
TIE ROD
TOOLS
TRANSMISSION
WATER PUMP
WIRE HARNESS ('06-)
VIEW WISH LIST