Honda
Shop In-Stock
ATVs
Shop In-Stock
Motorcycles
Shop In-Stock
Scooters
Shop In-Stock
Utility Vehicles
Shop In-Stock
11212 E. Kellogg Street
,
Wichita, KS
67207
316-358-7577
(text us)
Toggle navigation
316-358-7577
Wichita, KS
Home
Honda Models
Manufacturer Models
Inventory
All Inventory In Stock
New Inventory In Stock
Pre-Owned Inventory
Value Your Trade-In
Request a Model
Schedule a Test Ride
OEM Promotions
Pre-Qualify Now
Get Financing Now
Sale
Parts
Parts Department
Request Parts
Parts Viewer
Service
Service Department
Schedule Service
Warranty & Recall Look-Up
Financing
Get Financing Now
Pre-Qualify Now
Payment Calculator
About
Our Dealership
Our Team
Social Media
Reviews
Customer Survey
Newsletter Sign-Up
Employment
Events
Locations
Location & Hours
Contact
Parts Viewer
Home
›
Parts
›
Parts Viewer
Search by :
Part / Desc
VIN
Honda
*Please enter at least 3 characters
SEARCH
Manufacturer
Honda
ATVs
2011
TRX250TM A
VIEW WISH LIST
Select a Section
Show/Hide
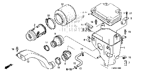
AIR CLEANER
ALTERNATOR
BATTERY
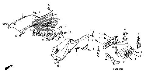
BODY COVER
CAM CHAIN@TENSIONER
CAMSHAFT@VALVE
CARBURETOR
CARRIER
CAUTION LABEL
CLUTCH
CRANKCASE
CRANKSHAFT@PISTON
CYLINDER
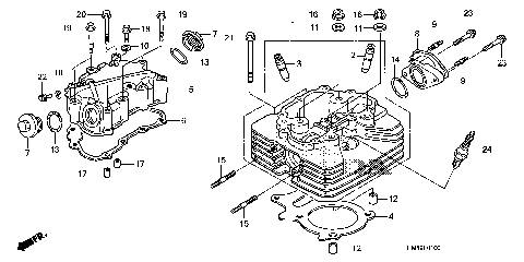
CYLINDER HEAD
FRAME
FRONT ARM
FRONT BRAKE MASTER
FRONT BRAKE PANEL
FRONT CRANKCASE COVER
FRONT FENDER
FRONT SHOCK ABSORBER
FRONT WHEEL
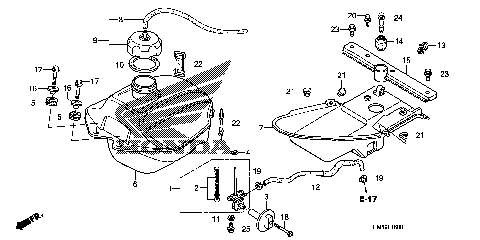
FUEL TANK
GASKET KIT A
GASKET KIT B
GEARSHIFT DRUM
HANDLE LEVER@SWITCH@CABLE
HANDLEBAR
HEADLIGHT
KNUCKLE
MARK
MUFFLER
OIL COOLER
OIL PUMP
PEDAL@STEP
REAR BRAKE DRUM
REAR CRANKCASE COVER
REAR FENDER
REAR FINAL GEAR
REAR SHOCK ABSORBER
REAR WHEEL
RECOIL STARTER
SEAT
STARTING GEAR
STARTING MOTOR
STEERING SHAFT
SWINGARM
TAILLIGHT
TIE ROD
TOOLS
TRAILER HITCH SET
TRANSMISSION
WIRE HARNESS (TRX250TM)
AIR CLEANER
ALTERNATOR
BATTERY
BODY COVER
CAM CHAIN@TENSIONER
CAMSHAFT@VALVE
CARBURETOR
CARRIER
CAUTION LABEL
CLUTCH
CRANKCASE
CRANKSHAFT@PISTON
CYLINDER
CYLINDER HEAD
FRAME
FRONT ARM
FRONT BRAKE MASTER
FRONT BRAKE PANEL
FRONT CRANKCASE COVER
FRONT FENDER
FRONT SHOCK ABSORBER
FRONT WHEEL
FUEL TANK
GASKET KIT A
GASKET KIT B
GEARSHIFT DRUM
HANDLE LEVER@SWITCH@CABLE
HANDLEBAR
HEADLIGHT
KNUCKLE
MARK
MUFFLER
OIL COOLER
OIL PUMP
PEDAL@STEP
REAR BRAKE DRUM
REAR CRANKCASE COVER
REAR FENDER
REAR FINAL GEAR
REAR SHOCK ABSORBER
REAR WHEEL
RECOIL STARTER
SEAT
STARTING GEAR
STARTING MOTOR
STEERING SHAFT
SWINGARM
TAILLIGHT
TIE ROD
TOOLS
TRAILER HITCH SET
TRANSMISSION
WIRE HARNESS (TRX250TM)
VIEW WISH LIST