Honda
Shop In-Stock
ATVs
Shop In-Stock
Motorcycles
Shop In-Stock
Scooters
Shop In-Stock
Utility Vehicles
Shop In-Stock
11212 E. Kellogg Street
,
Wichita, KS
67207
316-358-7577
(text us)
Toggle navigation
316-358-7577
Wichita, KS
Home
Honda Models
Manufacturer Models
Inventory
All Inventory In Stock
New Inventory In Stock
Pre-Owned Inventory
Value Your Trade-In
Request a Model
Schedule a Test Ride
OEM Promotions
Pre-Qualify Now
Get Financing Now
Sale
Parts
Parts Department
Request Parts
Parts Viewer
Service
Service Department
Schedule Service
Warranty & Recall Look-Up
Financing
Get Financing Now
Pre-Qualify Now
Payment Calculator
About
Our Dealership
Our Team
Social Media
Reviews
Customer Survey
Newsletter Sign-Up
Employment
Events
Locations
Location & Hours
Contact
Parts Viewer
Home
›
Parts
›
Parts Viewer
Search by :
Part / Desc
VIN
Honda
*Please enter at least 3 characters
SEARCH
Manufacturer
Honda
ATVs
2011
TRX500FA A
VIEW WISH LIST
Select a Section
Show/Hide
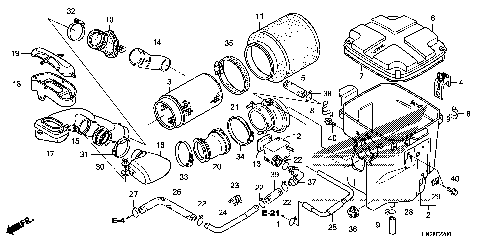
AIR CLEANER
ALTERNATOR
BATTERY
BODY COVER
CAM CHAIN@TENSIONER
CAMSHAFT@VALVE
CARBURETOR
CARRIER
CLUTCH
CRANKCASE
CRANKSHAFT@PISTON
CYLINDER
CYLINDER HEAD
EMBLEM@MARK
FINAL DRIVEN GEAR
FINAL SHAFT
FRAME
FRONT ARM
FRONT BRAKE
FRONT CALIPER
FRONT CRANKCASE COVER
FRONT FENDER
FRONT FINAL GEAR
FRONT SHOCK ABSORBER
FRONT WHEEL
FUEL TANK
GASKET KIT A
GASKET KIT B
GEARSHIFT FORK
HANDLE LEVER@SWITCH@CABLE
HANDLEBAR
HEADLIGHT
HONDAMATIC
KNUCKLE
LABEL
METER
MUFFLER
OIL COOLER
OIL PUMP
OIL TANK
PEDAL@STEP
RADIATOR
REAR BRAKE PANEL
REAR CRANKCASE COVER
REAR FENDER
REAR SHOCK ABSORBER
REAR WHEEL
RECOIL STARTER
SEAT
SELECT LEVER
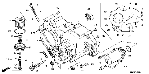
STARTER MOTOR
STARTING GEAR
STEERING SHAFT
SWINGARM
TAILLIGHT
TIE ROD
TOOLS
TRANSMISSION
WATER PUMP
WIRE HARNESS
AIR CLEANER
ALTERNATOR
BATTERY
BODY COVER
CAM CHAIN@TENSIONER
CAMSHAFT@VALVE
CARBURETOR
CARRIER
CLUTCH
CRANKCASE
CRANKSHAFT@PISTON
CYLINDER
CYLINDER HEAD
EMBLEM@MARK
FINAL DRIVEN GEAR
FINAL SHAFT
FRAME
FRONT ARM
FRONT BRAKE
FRONT CALIPER
FRONT CRANKCASE COVER
FRONT FENDER
FRONT FINAL GEAR
FRONT SHOCK ABSORBER
FRONT WHEEL
FUEL TANK
GASKET KIT A
GASKET KIT B
GEARSHIFT FORK
HANDLE LEVER@SWITCH@CABLE
HANDLEBAR
HEADLIGHT
HONDAMATIC
KNUCKLE
LABEL
METER
MUFFLER
OIL COOLER
OIL PUMP
OIL TANK
PEDAL@STEP
RADIATOR
REAR BRAKE PANEL
REAR CRANKCASE COVER
REAR FENDER
REAR SHOCK ABSORBER
REAR WHEEL
RECOIL STARTER
SEAT
SELECT LEVER
STARTER MOTOR
STARTING GEAR
STEERING SHAFT
SWINGARM
TAILLIGHT
TIE ROD
TOOLS
TRANSMISSION
WATER PUMP
WIRE HARNESS
VIEW WISH LIST