Honda
Shop In-Stock
ATVs
Shop In-Stock
Motorcycles
Shop In-Stock
Scooters
Shop In-Stock
Utility Vehicles
Shop In-Stock
11212 E. Kellogg Street
,
Wichita, KS
67207
316-358-7577
(text us)
Toggle navigation
316-358-7577
Wichita, KS
Home
Honda Models
Manufacturer Models
Inventory
All Inventory In Stock
New Inventory In Stock
Pre-Owned Inventory
Value Your Trade-In
Request a Model
Schedule a Test Ride
OEM Promotions
Pre-Qualify Now
Get Financing Now
Sale
Parts
Parts Department
Request Parts
Parts Viewer
Service
Service Department
Schedule Service
Warranty & Recall Look-Up
Financing
Get Financing Now
Pre-Qualify Now
Payment Calculator
About
Our Dealership
Our Team
Social Media
Reviews
Customer Survey
Newsletter Sign-Up
Employment
Events
Locations
Location & Hours
Contact
Parts Viewer
Home
›
Parts
›
Parts Viewer
Search by :
Part / Desc
VIN
Honda
*Please enter at least 3 characters
SEARCH
Manufacturer
Honda
ATVs
2014
TRX400X AC
VIEW WISH LIST
Select a Section
Show/Hide
ACCESSORIES
AIR CLEANER
ALTERNATOR
BATTERY (2)
CAM CHAIN@TENSIONER
CAMSHAFT@VALVE
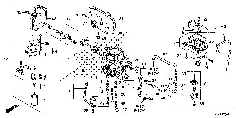
CARBURETOR
CLUTCH
CRANKCASE
CRANKSHAFT@PISTON
CYLINDER
CYLINDER HEAD
CYLINDER HEAD COVER
FRAME
FRONT ARM
FRONT BRAKE CALIPER
FRONT BRAKE MASTER
FRONT FENDER@REVERSE
FRONT SHOCK ABSORBER
FRONT WHEEL
FUEL TANK (2)
GASKET KIT A
GASKET KIT B
HANDLE LEVER@SWITCH@CABLE
HANDLEBAR
HEADLIGHT (2)
KNUCKLE
LABEL (2)
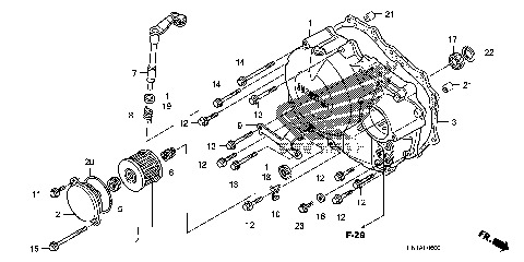
LEFT CRANKCASE COVER
MARK (2)
MUFFLER
OIL COOLER
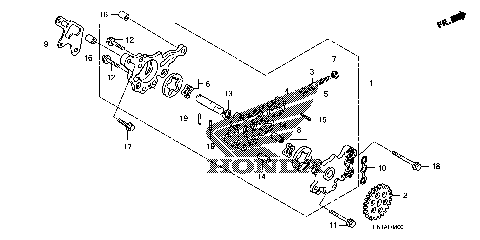
OIL PUMP
REAR BRAKE CALIPER
REAR BRAKE MASTER
REAR FENDER (2)
REAR SHOCK ABSORBER
REAR WHEEL
REAR WHEEL AXLE@DRIVE
RIGHT CRANKCASE COVER
SEAT (2)
SHIFT DRUM@SHIFT FORK
STARTER CLUTCH
STARTER MOTOR
STEERING SHAFT
STEP@PEDAL (2)
SWINGARM
TAILLIGHT (2)
TIE ROD
TOOLS
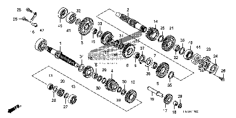
TRANSMISSION
WIRE HARNESS
ACCESSORIES
AIR CLEANER
ALTERNATOR
BATTERY (2)
CAM CHAIN@TENSIONER
CAMSHAFT@VALVE
CARBURETOR
CLUTCH
CRANKCASE
CRANKSHAFT@PISTON
CYLINDER
CYLINDER HEAD
CYLINDER HEAD COVER
FRAME
FRONT ARM
FRONT BRAKE CALIPER
FRONT BRAKE MASTER
FRONT FENDER@REVERSE
FRONT SHOCK ABSORBER
FRONT WHEEL
FUEL TANK (2)
GASKET KIT A
GASKET KIT B
HANDLE LEVER@SWITCH@CABLE
HANDLEBAR
HEADLIGHT (2)
KNUCKLE
LABEL (2)
LEFT CRANKCASE COVER
MARK (2)
MUFFLER
OIL COOLER
OIL PUMP
REAR BRAKE CALIPER
REAR BRAKE MASTER
REAR FENDER (2)
REAR SHOCK ABSORBER
REAR WHEEL
REAR WHEEL AXLE@DRIVE
RIGHT CRANKCASE COVER
SEAT (2)
SHIFT DRUM@SHIFT FORK
STARTER CLUTCH
STARTER MOTOR
STEERING SHAFT
STEP@PEDAL (2)
SWINGARM
TAILLIGHT (2)
TIE ROD
TOOLS
TRANSMISSION
WIRE HARNESS
VIEW WISH LIST