Honda
Shop In-Stock
ATVs
Shop In-Stock
Motorcycles
Shop In-Stock
Scooters
Shop In-Stock
Utility Vehicles
Shop In-Stock
11212 E. Kellogg Street
,
Wichita, KS
67207
316-358-7577
(text us)
Toggle navigation
316-358-7577
Wichita, KS
Home
Honda Models
Manufacturer Models
Inventory
All Inventory In Stock
New Inventory In Stock
Pre-Owned Inventory
Value Your Trade-In
Request a Model
Schedule a Test Ride
OEM Promotions
Pre-Qualify Now
Get Financing Now
Sale
Parts
Parts Department
Request Parts
Parts Viewer
Service
Service Department
Schedule Service
Warranty & Recall Look-Up
Financing
Get Financing Now
Pre-Qualify Now
Payment Calculator
About
Our Dealership
Our Team
Social Media
Reviews
Customer Survey
Newsletter Sign-Up
Employment
Events
Locations
Location & Hours
Contact
Parts Viewer
Home
›
Parts
›
Parts Viewer
Search by :
Part / Desc
VIN
Honda
*Please enter at least 3 characters
SEARCH
Manufacturer
Honda
ATVs
2016
TRX500FA5 AC
VIEW WISH LIST
Select a Section
Show/Hide
AIR CLEANER
ALTERNATOR
BATTERY
CAM CHAIN@TENSIONER
CAMSHAFT@VALVE
CARRIER
CAUTION LABEL
CLUTCH
CLUTCH (DCT)
CONTROL MOTOR
CRANKCASE
CRANKSHAFT@PISTON
CYLINDER
CYLINDER HEAD
FINAL SHAFT
FRAME
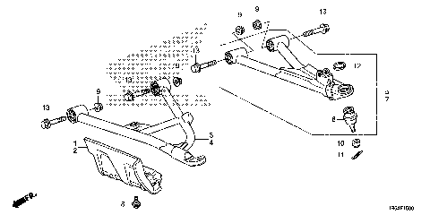
FRONT ARM
FRONT BRAKE CALIPER
FRONT BRAKE MASTER
FRONT CRANKCASE COVER
FRONT CUSHION
FRONT FENDER
FRONT FINAL GEAR
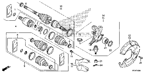
FRONT KNUCKLE@FRONT DRIVE
FRONT WHEEL
FUEL PUMP
FUEL TANK
GASKET KIT A
GASKET KIT B
GEARSHIFT FORK
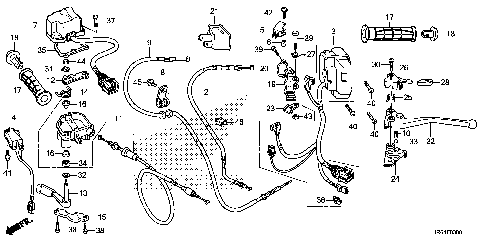
HANDLEBAR
HEADLIGHT
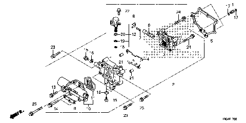
MAIN VALVE BODY
MARK@EMBLEM
MUFFLER
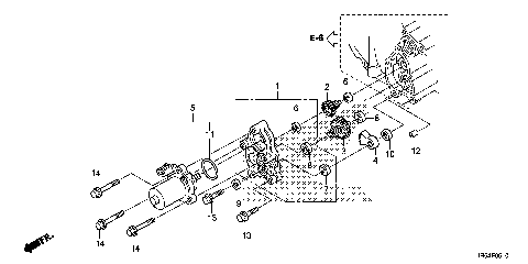
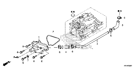
OIL PUMP
PEDAL@STEP
PROPELLER SHAFT
RADIATOR
REAR ARM
REAR BRAKE CALIPER
REAR BRAKE MASTER
REAR CRANKCASE COVER
REAR FENDER
REAR FINAL GEAR
REAR KNUCKLE@REAR DRIVE
REAR SHOCK ABSORBER
REAR WHEEL
SEAT
SELECT LEVER
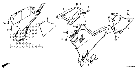
SIDE COVER@TANK COVER
SPEEDOMETER
STABILIZER
STARTER MOTOR
STARTING GEAR
STEERING SHAFT
SUB-TRANSMISSION COVER
SWITCH@CABLE
TAILLIGHT
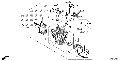
THROTTLE BODY
TIE ROD
TOOLS
TRANSMISSION
WATER PUMP COVER
WIRE HARNESS
AIR CLEANER
ALTERNATOR
BATTERY
CAM CHAIN@TENSIONER
CAMSHAFT@VALVE
CARRIER
CAUTION LABEL
CLUTCH
CLUTCH (DCT)
CONTROL MOTOR
CRANKCASE
CRANKSHAFT@PISTON
CYLINDER
CYLINDER HEAD
FINAL SHAFT
FRAME
FRONT ARM
FRONT BRAKE CALIPER
FRONT BRAKE MASTER
FRONT CRANKCASE COVER
FRONT CUSHION
FRONT FENDER
FRONT FINAL GEAR
FRONT KNUCKLE@FRONT DRIVE
FRONT WHEEL
FUEL PUMP
FUEL TANK
GASKET KIT A
GASKET KIT B
GEARSHIFT FORK
HANDLEBAR
HEADLIGHT
MAIN VALVE BODY
MARK@EMBLEM
MUFFLER
OIL PUMP
PEDAL@STEP
PROPELLER SHAFT
RADIATOR
REAR ARM
REAR BRAKE CALIPER
REAR BRAKE MASTER
REAR CRANKCASE COVER
REAR FENDER
REAR FINAL GEAR
REAR KNUCKLE@REAR DRIVE
REAR SHOCK ABSORBER
REAR WHEEL
SEAT
SELECT LEVER
SIDE COVER@TANK COVER
SPEEDOMETER
STABILIZER
STARTER MOTOR
STARTING GEAR
STEERING SHAFT
SUB-TRANSMISSION COVER
SWITCH@CABLE
TAILLIGHT
THROTTLE BODY
TIE ROD
TOOLS
TRANSMISSION
WATER PUMP COVER
WIRE HARNESS
VIEW WISH LIST