Honda
Shop In-Stock
ATVs
Shop In-Stock
Motorcycles
Shop In-Stock
Scooters
Shop In-Stock
Utility Vehicles
Shop In-Stock
11212 E. Kellogg Street
,
Wichita, KS
67207
316-358-7577
(text us)
Toggle navigation
316-358-7577
Wichita, KS
Home
Honda Models
Manufacturer Models
Inventory
All Inventory In Stock
New Inventory In Stock
Pre-Owned Inventory
Value Your Trade-In
Request a Model
Schedule a Test Ride
OEM Promotions
Pre-Qualify Now
Get Financing Now
Sale
Parts
Parts Department
Request Parts
Parts Viewer
Service
Service Department
Schedule Service
Warranty & Recall Look-Up
Financing
Get Financing Now
Pre-Qualify Now
Payment Calculator
About
Our Dealership
Our Team
Social Media
Reviews
Customer Survey
Newsletter Sign-Up
Employment
Events
Locations
Location & Hours
Contact
Parts Viewer
Home
›
Parts
›
Parts Viewer
Search by :
Part / Desc
VIN
Honda
*Please enter at least 3 characters
SEARCH
Manufacturer
Honda
ATVs
2022
TRX420FA6 AC
VIEW WISH LIST
Select a Section
Show/Hide
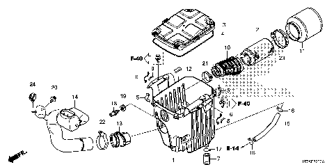
AIR CLEANER
BATTERY
CAM CHAIN@TENSIONER
CAMSHAFT@VALVE
CANISTER
CARRIER (TRX420FA5/FA6
CAUTION LABEL
CLUTCH
CONTROL MOTOR
CRANKCASE
CRANKSHAFT@PISTON
CYLINDER
CYLINDER HEAD
EXHAUST MUFFLER
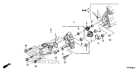
FINAL SHAFT
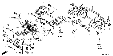
FRAME
FRONT ARM
FRONT BRAKE CALIPER
FRONT BRAKE MASTER
FRONT CRANKCASE COVER
FRONT CUSHION
FRONT FENDER
FRONT FINAL GEAR
FRONT KNUCKLE@DRIVESHAFT
FRONT WHEEL
FUEL PUMP
FUEL TANK
GASKET KIT A
GASKET KIT B
GEARSHIFT FORK
GENERATOR
HANDLE LEVER@SWITCH@CABLE
HANDLEBAR
HEADLIGHT
MAIN VALVE BODY
MARK
METER
OIL PUMP
PROPELLER SHAFT
RADIATOR
REAR ARM
REAR BRAKE CALIPER
REAR BRAKE MASTER
REAR CRANKCASE COVER
REAR FENDER
REAR FINAL GEAR
REAR KNUCKLE@REAR
REAR SHOCK ABSORBER
REAR WHEEL
SEAT
SELECT LEVER
SIDE COVER@TANK COVER
STABILIZER
STARTING CLUTCH
STARTING GEAR
STARTING MOTOR
STEERING SHAFT (EPS)
STEP@PEDAL
TAILLIGHT
THROTTLE BODY
TIE ROD
TOOL
TRANSMISSION
WATER PUMP COVER
WIRE HARNESS
AIR CLEANER
BATTERY
CAM CHAIN@TENSIONER
CAMSHAFT@VALVE
CANISTER
CARRIER (TRX420FA5/FA6
CAUTION LABEL
CLUTCH
CONTROL MOTOR
CRANKCASE
CRANKSHAFT@PISTON
CYLINDER
CYLINDER HEAD
EXHAUST MUFFLER
FINAL SHAFT
FRAME
FRONT ARM
FRONT BRAKE CALIPER
FRONT BRAKE MASTER
FRONT CRANKCASE COVER
FRONT CUSHION
FRONT FENDER
FRONT FINAL GEAR
FRONT KNUCKLE@DRIVESHAFT
FRONT WHEEL
FUEL PUMP
FUEL TANK
GASKET KIT A
GASKET KIT B
GEARSHIFT FORK
GENERATOR
HANDLE LEVER@SWITCH@CABLE
HANDLEBAR
HEADLIGHT
MAIN VALVE BODY
MARK
METER
OIL PUMP
PROPELLER SHAFT
RADIATOR
REAR ARM
REAR BRAKE CALIPER
REAR BRAKE MASTER
REAR CRANKCASE COVER
REAR FENDER
REAR FINAL GEAR
REAR KNUCKLE@REAR
REAR SHOCK ABSORBER
REAR WHEEL
SEAT
SELECT LEVER
SIDE COVER@TANK COVER
STABILIZER
STARTING CLUTCH
STARTING GEAR
STARTING MOTOR
STEERING SHAFT (EPS)
STEP@PEDAL
TAILLIGHT
THROTTLE BODY
TIE ROD
TOOL
TRANSMISSION
WATER PUMP COVER
WIRE HARNESS
VIEW WISH LIST