Honda
Shop In-Stock
ATVs
Shop In-Stock
Motorcycles
Shop In-Stock
Scooters
Shop In-Stock
Utility Vehicles
Shop In-Stock
11212 E. Kellogg Street
,
Wichita, KS
67207
316-358-7577
(text us)
Toggle navigation
316-358-7577
Wichita, KS
Home
Honda Models
Manufacturer Models
Inventory
All Inventory In Stock
New Inventory In Stock
Pre-Owned Inventory
Value Your Trade-In
Request a Model
Schedule a Test Ride
OEM Promotions
Pre-Qualify Now
Get Financing Now
Sale
Parts
Parts Department
Request Parts
Parts Viewer
Service
Service Department
Schedule Service
Warranty & Recall Look-Up
Financing
Get Financing Now
Pre-Qualify Now
Payment Calculator
About
Our Dealership
Our Team
Social Media
Reviews
Customer Survey
Newsletter Sign-Up
Employment
Events
Locations
Location & Hours
Contact
Parts Viewer
Home
›
Parts
›
Parts Viewer
Search by :
Part / Desc
VIN
Honda
*Please enter at least 3 characters
SEARCH
Manufacturer
Honda
Motorcycles
2007
GL1800 5A
VIEW WISH LIST
Select a Section
Show/Hide
ACCESSORY SOCKET KIT (12V
AIR CLEANER
AIR DUCT (GL1800'06-)
AIR INJECTION VALVE
AIRBAG HARNESS
AIRBAG MODULE
ALTERNATOR
ARMREST (PASSENGER)
AUDIO CONTROL (PASSENGER)
AUDIO UNIT (GL1800'06-)
AUDIO UNIT (GL1800'06-)(2)
AUTO CRUISE (GL1800'06-)
AUTO CRUISE (GL1800'06-)(2)
BAR ENDS (CHROME)
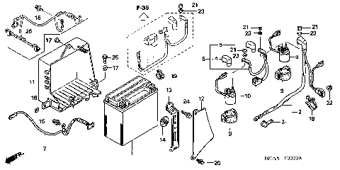
BATTERY
CAM CHAIN@TENSIONER
CAMSHAFT@VALVE
CARBON TYPE FRONT FENDER
CB ANTENNA KIT
CB RADIO KIT (40 CHANNEL)
CD CHANGER ATTACHMENT KIT
CD CHANGER UNIT (6-DISC)
CHROME EXHAUST TIPS (TURN
CHROME EXHAUST TIPS (W/GL
CHROME FRONT FENDER
CHROME FRONT LOWER COWL
CHROME GL ICON FENDER
CLUTCH
CLUTCH COVER
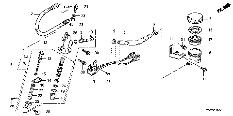
CLUTCH MASTER CYLINDER
COIN HOLDER
CONTROL UNIT (GL1800'06-)
CONTROL UNIT (GL1800'06-)(2)
COOLING FAN (GL1800'06-)
COWL
COWL STAY (GL1800'06-)
CRANKSHAFT@PISTON
CYCLE COVER
CYLINDER BLOCK
CYLINDER HEAD
CYLINDER HEAD COVER
CYLINDER HEAD COVER(2)
CYLINDER HEAD COVER(3)
CYLINDER HEAD COVER(4)
DELAY VALVE
DELUXE HEADSET (FULL
DELUXE HEADSET (OPEN
DELUXE SADDLEBAG TRUNK
DELUXE SADDLEBAG TRUNK(2)
DELUXE SADDLEBAG@TRUNK
ENGINE GUARD
EVAP CANISTER
FAIRING POUCH
FAIRING SIDE AIR
FINAL DRIVEN GEAR
FINAL SHAFT
FLOORBOARD COVER
FLOORBOARD LOWER COVER
FOGLIGHT KIT
FOGLIGHT LENS ASSY.
FOGLIGHT LENS PROTECTOR
FRAME
FRONT BRAKE MASTER
FRONT COVER@TRANSMISSION
FRONT DISC COVERS
FRONT FENDER
FRONT FENDER EMBLEM
FRONT FENDER EXTENSION
FRONT FENDER RAIL
FRONT FORK
FRONT NOSE MASK
FRONT WHEEL
FUEL TANK
GASKET KIT A
GASKET KIT B
GOLD CYLINDER HEAD COVER
GOLD WING OWNERS MANUAL
HANDLE SWITCH (1)
HANDLE SWITCH (2)
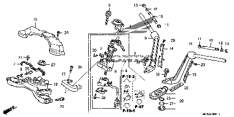
HANDLEBAR@TOP BRIDGE
HEADLIGHT
HEATED GRIP (CHROME W/GL
IGNITION COIL
INJECTOR
INNER TRUNK POUCH
INSTRUMENT ACCENT
INSTRUMENT ACCENT (CARBON
INSTRUMENT ACCENT (WOOD
LABELS
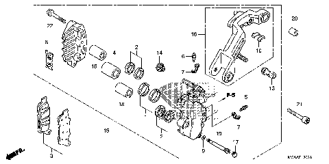
LEFT FRONT BRAKE CALIPER
LICENSE PLATE FRAME
METER (GL1800'06-'10)
METER PANEL (GL1800 '06-)
MUFFLER (1)
MUFFLER (2)
NAVIGATION UNIT
NYLON SADDLE@TRUNK LINER
OIL PUMP
OPENER UNIT
PEDAL
PRIMARY DRIVE GEAR
PROPORTION CONTROL VALVE
RADIATOR
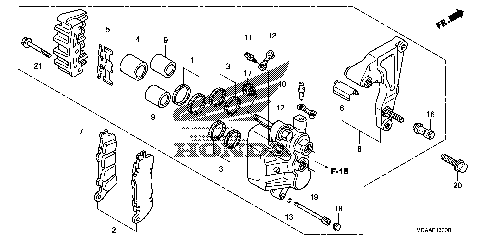
REAR BRAKE CALIPER
REAR BRAKE MASTER
REAR CASE
REAR COMBINATION LIGHT
REAR FENDER (GL1800'06-)
REAR SHOCK ABSORBER
REAR SPOILER (W/BRAKE
REAR SPOILER ACCENT
REAR WHEEL
REVERSE GEAR
REVERSE SHIFT ACTUATOR
RIGHT FRONT BRAKE CALIPER
RIGHT FRONT BRAKE CALIPER(2)
SADDLEBAG
SADDLEBAG COOLER (W/HONDA
SADDLEBAG LID ORGANIZER
SADDLEBAG MOLDING KIT
SADDLEBAG MOLDING KIT(2)
SADDLEBAG RAIL SET
SADDLEBAG SCUFF COVERS
SEAT
SEAT WEATHER COVER
SHELTER (GL1800'06-)
SHELTER (GL1800'06-)(2)
SHIFT DRUM@SHIFT FORK
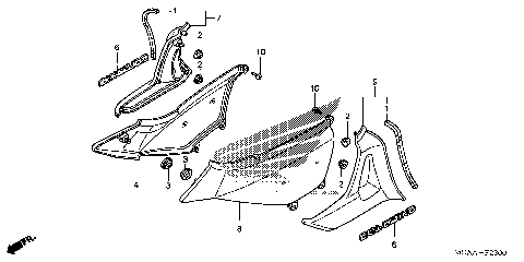
SIDE COVER
SIDE FAIRING ACCENTS
SIDE STAND (CHROME)
SPEEDOMETER (GL1800'06-)
STAND
STARTER MOTOR
STEERING STEM
STEP
SWINGARM
SWINGARM PIVOT COVERS
THROTTLE BODY
THROTTLE BODY (TUBING)
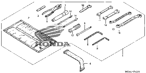
TOOLS
TRANSMISSION
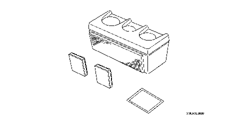
TRUNK BOX
TRUNK HANDLE (CHROME W/GL
TRUNK INNER LIGHT
TRUNK INNER LIGHT HARNESS
TRUNK LID ORGANIZER
TRUNK MOLDING KIT
TRUNK MOLDING KIT (CARBON
TRUNK NET
TRUNK RACK (CHROME)
TRUNK RAIL (CHROME)
TRUNK VANITY MIRROR
TURN SIGNAL@MIRROR
VENTED WINDSHIELD (TALL)
WATER PIPE
WATER PUMP
WINDSCREEN (GL1800'06-)
WINDSHIELD (TALL)
WINDSHIELD AIR DEFLECTOR
WINDSHIELD AIR DEFLECTOR(2)
WINDSHIELD COVER
WINDSHIELD GARNISH
WIRE HARNESS
ACCESSORY SOCKET KIT (12V
AIR CLEANER
AIR DUCT (GL1800'06-)
AIR INJECTION VALVE
AIRBAG HARNESS
AIRBAG MODULE
ALTERNATOR
ARMREST (PASSENGER)
AUDIO CONTROL (PASSENGER)
AUDIO UNIT (GL1800'06-)
AUDIO UNIT (GL1800'06-)(2)
AUTO CRUISE (GL1800'06-)
AUTO CRUISE (GL1800'06-)(2)
BAR ENDS (CHROME)
BATTERY
CAM CHAIN@TENSIONER
CAMSHAFT@VALVE
CARBON TYPE FRONT FENDER
CB ANTENNA KIT
CB RADIO KIT (40 CHANNEL)
CD CHANGER ATTACHMENT KIT
CD CHANGER UNIT (6-DISC)
CHROME EXHAUST TIPS (TURN
CHROME EXHAUST TIPS (W/GL
CHROME FRONT FENDER
CHROME FRONT LOWER COWL
CHROME GL ICON FENDER
CLUTCH
CLUTCH COVER
CLUTCH MASTER CYLINDER
COIN HOLDER
CONTROL UNIT (GL1800'06-)
CONTROL UNIT (GL1800'06-)(2)
COOLING FAN (GL1800'06-)
COWL
COWL STAY (GL1800'06-)
CRANKSHAFT@PISTON
CYCLE COVER
CYLINDER BLOCK
CYLINDER HEAD
CYLINDER HEAD COVER
CYLINDER HEAD COVER(2)
CYLINDER HEAD COVER(3)
CYLINDER HEAD COVER(4)
DELAY VALVE
DELUXE HEADSET (FULL
DELUXE HEADSET (OPEN
DELUXE SADDLEBAG TRUNK
DELUXE SADDLEBAG TRUNK(2)
DELUXE SADDLEBAG@TRUNK
ENGINE GUARD
EVAP CANISTER
FAIRING POUCH
FAIRING SIDE AIR
FINAL DRIVEN GEAR
FINAL SHAFT
FLOORBOARD COVER
FLOORBOARD LOWER COVER
FOGLIGHT KIT
FOGLIGHT LENS ASSY.
FOGLIGHT LENS PROTECTOR
FRAME
FRONT BRAKE MASTER
FRONT COVER@TRANSMISSION
FRONT DISC COVERS
FRONT FENDER
FRONT FENDER EMBLEM
FRONT FENDER EXTENSION
FRONT FENDER RAIL
FRONT FORK
FRONT NOSE MASK
FRONT WHEEL
FUEL TANK
GASKET KIT A
GASKET KIT B
GOLD CYLINDER HEAD COVER
GOLD WING OWNERS MANUAL
HANDLE SWITCH (1)
HANDLE SWITCH (2)
HANDLEBAR@TOP BRIDGE
HEADLIGHT
HEATED GRIP (CHROME W/GL
IGNITION COIL
INJECTOR
INNER TRUNK POUCH
INSTRUMENT ACCENT
INSTRUMENT ACCENT (CARBON
INSTRUMENT ACCENT (WOOD
LABELS
LEFT FRONT BRAKE CALIPER
LICENSE PLATE FRAME
METER (GL1800'06-'10)
METER PANEL (GL1800 '06-)
MUFFLER (1)
MUFFLER (2)
NAVIGATION UNIT
NYLON SADDLE@TRUNK LINER
OIL PUMP
OPENER UNIT
PEDAL
PRIMARY DRIVE GEAR
PROPORTION CONTROL VALVE
RADIATOR
REAR BRAKE CALIPER
REAR BRAKE MASTER
REAR CASE
REAR COMBINATION LIGHT
REAR FENDER (GL1800'06-)
REAR SHOCK ABSORBER
REAR SPOILER (W/BRAKE
REAR SPOILER ACCENT
REAR WHEEL
REVERSE GEAR
REVERSE SHIFT ACTUATOR
RIGHT FRONT BRAKE CALIPER
RIGHT FRONT BRAKE CALIPER(2)
SADDLEBAG
SADDLEBAG COOLER (W/HONDA
SADDLEBAG LID ORGANIZER
SADDLEBAG MOLDING KIT
SADDLEBAG MOLDING KIT(2)
SADDLEBAG RAIL SET
SADDLEBAG SCUFF COVERS
SEAT
SEAT WEATHER COVER
SHELTER (GL1800'06-)
SHELTER (GL1800'06-)(2)
SHIFT DRUM@SHIFT FORK
SIDE COVER
SIDE FAIRING ACCENTS
SIDE STAND (CHROME)
SPEEDOMETER (GL1800'06-)
STAND
STARTER MOTOR
STEERING STEM
STEP
SWINGARM
SWINGARM PIVOT COVERS
THROTTLE BODY
THROTTLE BODY (TUBING)
TOOLS
TRANSMISSION
TRUNK BOX
TRUNK HANDLE (CHROME W/GL
TRUNK INNER LIGHT
TRUNK INNER LIGHT HARNESS
TRUNK LID ORGANIZER
TRUNK MOLDING KIT
TRUNK MOLDING KIT (CARBON
TRUNK NET
TRUNK RACK (CHROME)
TRUNK RAIL (CHROME)
TRUNK VANITY MIRROR
TURN SIGNAL@MIRROR
VENTED WINDSHIELD (TALL)
WATER PIPE
WATER PUMP
WINDSCREEN (GL1800'06-)
WINDSHIELD (TALL)
WINDSHIELD AIR DEFLECTOR
WINDSHIELD AIR DEFLECTOR(2)
WINDSHIELD COVER
WINDSHIELD GARNISH
WIRE HARNESS
VIEW WISH LIST