Honda
Shop In-Stock
ATVs
Shop In-Stock
Motorcycles
Shop In-Stock
Scooters
Shop In-Stock
Utility Vehicles
Shop In-Stock
11212 E. Kellogg Street
,
Wichita, KS
67207
316-358-7577
(text us)
Toggle navigation
316-358-7577
Wichita, KS
Home
Honda Models
Manufacturer Models
Inventory
All Inventory In Stock
New Inventory In Stock
Pre-Owned Inventory
Value Your Trade-In
Request a Model
Schedule a Test Ride
OEM Promotions
Pre-Qualify Now
Get Financing Now
Sale
Parts
Parts Department
Request Parts
Parts Viewer
Service
Service Department
Schedule Service
Warranty & Recall Look-Up
Financing
Get Financing Now
Pre-Qualify Now
Payment Calculator
About
Our Dealership
Our Team
Social Media
Reviews
Customer Survey
Newsletter Sign-Up
Employment
Events
Locations
Location & Hours
Contact
Parts Viewer
Home
›
Parts
›
Parts Viewer
Search by :
Part / Desc
VIN
Honda
*Please enter at least 3 characters
SEARCH
Manufacturer
Honda
Motorcycles
2007
VT750DCA AC
VIEW WISH LIST
Select a Section
Show/Hide
AIR CLEANER
BATTERY
CAM CHAIN@TENSIONER
CAMSHAFT@VALVE
CARBURETOR (ASSY.)
CARBURETOR (COMPONENT
CLUTCH
CRANKCASE
CRANKSHAFT@PISTON
CYLINDER
CYLINDER HEAD (FR.)
CYLINDER HEAD (RR.)
CYLINDER HEAD COVER
EVAP CANISTER
EXHAUST MUFFLER
FRAME
FRONT BRAKE CALIPER
FRONT BRAKE MASTER
FRONT FENDER
FRONT FORK
FRONT WHEEL
FUEL TANK@FUEL PUMP
GASKET KIT A
GASKET KIT B
GEARSHIFT DRUM
HANDLEBAR@TOP BRIDGE
HEADLIGHT
LABELS
LEFT CRANKCASE COVER
METER
OIL FILTER@OIL PUMP
PEDAL
PULSE GENERATOR
RADIATOR
REAR BRAKE PANEL
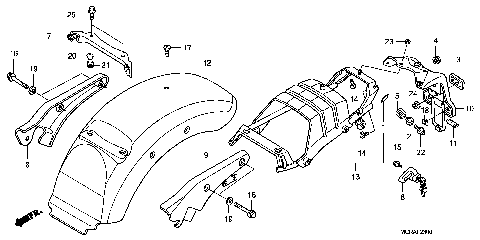
REAR FENDER
REAR SHOCK ABSORBER
REAR WHEEL
RIGHT CRANKCASE COVER
SEAT
SIDE COVER
STAND
STARTING MOTOR
STEERING STEM
STEP
STRIPES@MARKS
SUB AIR CLEANER
SWINGARM
SWITCH@CABLE@LEVER
TAILLIGHT
TOOLS
TRANSMISSION
TURN SIGNAL
WATER PIPE
WATER PUMP
WIRE HARNESS
AIR CLEANER
BATTERY
CAM CHAIN@TENSIONER
CAMSHAFT@VALVE
CARBURETOR (ASSY.)
CARBURETOR (COMPONENT
CLUTCH
CRANKCASE
CRANKSHAFT@PISTON
CYLINDER
CYLINDER HEAD (FR.)
CYLINDER HEAD (RR.)
CYLINDER HEAD COVER
EVAP CANISTER
EXHAUST MUFFLER
FRAME
FRONT BRAKE CALIPER
FRONT BRAKE MASTER
FRONT FENDER
FRONT FORK
FRONT WHEEL
FUEL TANK@FUEL PUMP
GASKET KIT A
GASKET KIT B
GEARSHIFT DRUM
HANDLEBAR@TOP BRIDGE
HEADLIGHT
LABELS
LEFT CRANKCASE COVER
METER
OIL FILTER@OIL PUMP
PEDAL
PULSE GENERATOR
RADIATOR
REAR BRAKE PANEL
REAR FENDER
REAR SHOCK ABSORBER
REAR WHEEL
RIGHT CRANKCASE COVER
SEAT
SIDE COVER
STAND
STARTING MOTOR
STEERING STEM
STEP
STRIPES@MARKS
SUB AIR CLEANER
SWINGARM
SWITCH@CABLE@LEVER
TAILLIGHT
TOOLS
TRANSMISSION
TURN SIGNAL
WATER PIPE
WATER PUMP
WIRE HARNESS
VIEW WISH LIST