Honda
Shop In-Stock
ATVs
Shop In-Stock
Motorcycles
Shop In-Stock
Scooters
Shop In-Stock
Utility Vehicles
Shop In-Stock
11212 E. Kellogg Street
,
Wichita, KS
67207
316-358-7577
(text us)
Toggle navigation
316-358-7577
Wichita, KS
Home
Honda Models
Manufacturer Models
Inventory
All Inventory In Stock
New Inventory In Stock
Pre-Owned Inventory
Value Your Trade-In
Request a Model
Schedule a Test Ride
OEM Promotions
Pre-Qualify Now
Get Financing Now
Sale
Parts
Parts Department
Request Parts
Parts Viewer
Service
Service Department
Schedule Service
Warranty & Recall Look-Up
Financing
Get Financing Now
Pre-Qualify Now
Payment Calculator
About
Our Dealership
Our Team
Social Media
Reviews
Customer Survey
Newsletter Sign-Up
Employment
Events
Locations
Location & Hours
Contact
Parts Viewer
Home
›
Parts
›
Parts Viewer
Search by :
Part / Desc
VIN
Honda
*Please enter at least 3 characters
SEARCH
Manufacturer
Honda
Motorcycles
2009
NSA700A A
VIEW WISH LIST
Select a Section
Show/Hide
AIR CLEANER
AIR INJECTION SOLENOID
BATTERY
CAM CHAIN@TENSIONER
CAMSHAFT@VALVE
CANISTER
CLUTCH
COMBINATION LIGHT
COWL STAY
CRANKCASE
CRANKSHAFT@PISTON
CYLINDER
CYLINDER HEAD COVER
ENGINE SIDE COVER
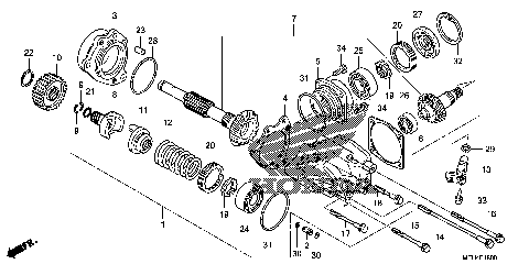
FINAL DRIVEN GEAR
FRAME
FRONT BRAKE HOSE
FRONT BRAKE MASTER
FRONT CYLINDER HEAD
FRONT FENDER
FRONT FORK
FRONT WHEEL
FUEL PUMP
FUEL TANK
GASKET KIT A
GASKET KIT B
GENERATOR
HANDLEBAR@TOP BRIDGE
HEADLIGHT
HFT UNIT
IGNITION COIL
LABEL
LEFT CRANKCASE COVER
LEFT FRONT BRAKE CALIPER
LOWER COWL
MARK
METER
MUFFLER
OIL FILTER@OIL PUMP
PARKING BRAKE
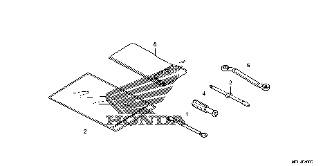
PARKING BRAKE CALIPER
PEDAL
PULSE GENERATOR@STARTING
RADIATOR
REAR BRAKE CALIPER
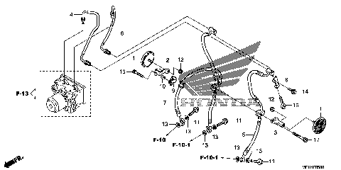
REAR BRAKE HOSE
REAR BRAKE MASTER
REAR COWL
REAR CYLINDER HEAD
REAR FENDER
REAR SHOCK ABSORBER
REAR WHEEL
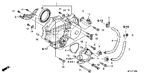
RIGHT CRANKCASE COVER
RIGHT FRONT BRAKE CALIPER
SEAT
SIDE COVER
SIDE GEAR CASE
STAND
STARTER MOTOR
STEERING STEM
STEP
SUB HARNESS
SWINGARM
SWITCH@CABLE
THROTTLE BODY (A/CM)
THROTTLE BODY (AC)
TOOLS
TURN SIGNAL@MIRROR
UPPER COWL
WATER PIPE
WIRE HARNESS
AIR CLEANER
AIR INJECTION SOLENOID
BATTERY
CAM CHAIN@TENSIONER
CAMSHAFT@VALVE
CANISTER
CLUTCH
COMBINATION LIGHT
COWL STAY
CRANKCASE
CRANKSHAFT@PISTON
CYLINDER
CYLINDER HEAD COVER
ENGINE SIDE COVER
FINAL DRIVEN GEAR
FRAME
FRONT BRAKE HOSE
FRONT BRAKE MASTER
FRONT CYLINDER HEAD
FRONT FENDER
FRONT FORK
FRONT WHEEL
FUEL PUMP
FUEL TANK
GASKET KIT A
GASKET KIT B
GENERATOR
HANDLEBAR@TOP BRIDGE
HEADLIGHT
HFT UNIT
IGNITION COIL
LABEL
LEFT CRANKCASE COVER
LEFT FRONT BRAKE CALIPER
LOWER COWL
MARK
METER
MUFFLER
OIL FILTER@OIL PUMP
PARKING BRAKE
PARKING BRAKE CALIPER
PEDAL
PULSE GENERATOR@STARTING
RADIATOR
REAR BRAKE CALIPER
REAR BRAKE HOSE
REAR BRAKE MASTER
REAR COWL
REAR CYLINDER HEAD
REAR FENDER
REAR SHOCK ABSORBER
REAR WHEEL
RIGHT CRANKCASE COVER
RIGHT FRONT BRAKE CALIPER
SEAT
SIDE COVER
SIDE GEAR CASE
STAND
STARTER MOTOR
STEERING STEM
STEP
SUB HARNESS
SWINGARM
SWITCH@CABLE
THROTTLE BODY (A/CM)
THROTTLE BODY (AC)
TOOLS
TURN SIGNAL@MIRROR
UPPER COWL
WATER PIPE
WIRE HARNESS
VIEW WISH LIST