Honda
Shop In-Stock
ATVs
Shop In-Stock
Motorcycles
Shop In-Stock
Scooters
Shop In-Stock
Utility Vehicles
Shop In-Stock
11212 E. Kellogg Street
,
Wichita, KS
67207
316-358-7577
(text us)
Toggle navigation
316-358-7577
Wichita, KS
Home
Honda Models
Manufacturer Models
Inventory
All Inventory In Stock
New Inventory In Stock
Pre-Owned Inventory
Value Your Trade-In
Request a Model
Schedule a Test Ride
OEM Promotions
Pre-Qualify Now
Get Financing Now
Sale
Parts
Parts Department
Request Parts
Parts Viewer
Service
Service Department
Schedule Service
Warranty & Recall Look-Up
Financing
Get Financing Now
Pre-Qualify Now
Payment Calculator
About
Our Dealership
Our Team
Social Media
Reviews
Customer Survey
Newsletter Sign-Up
Employment
Events
Locations
Location & Hours
Contact
Parts Viewer
Home
›
Parts
›
Parts Viewer
Search by :
Part / Desc
VIN
Honda
*Please enter at least 3 characters
SEARCH
Manufacturer
Honda
Motorcycles
2017
CB1100CA AC
VIEW WISH LIST
Select a Section
Show/Hide
ABS MODULATOR
AIR CLEANER
AIR INJECTION VALVE
BATTERY
CAM CHAIN@TENSIONER
CAMSHAFT@VALVE
CANISTER
CAUTION LABEL
CLUTCH
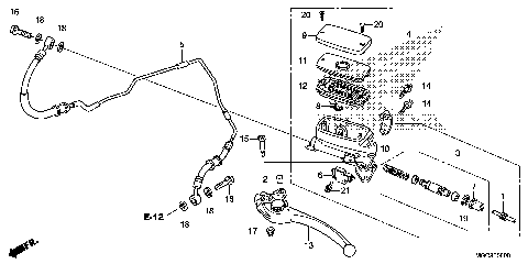
CLUTCH MASTER CYLINDER
CRANKCASE
CRANKSHAFT@PISTON
CYLINDER
CYLINDER HEAD
CYLINDER HEAD COVER
EMBLEM
EXHAUST MUFFLER
FRAME
FRONT BRAKE CALIPER
FRONT BRAKE HOSE
FRONT BRAKE MASTER
FRONT FENDER (1)
FRONT FORK (1)
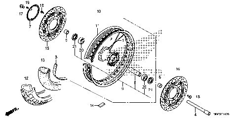
FRONT WHEEL (1)
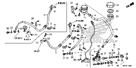
FUEL TANK@FUEL PUMP
GASKET KIT A
GASKET KIT B
GEARSHIFT DRUM@GEARSHIFT
GENERATOR
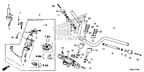
HANDLEBAR@TOP BRIDGE
HEADLIGHT
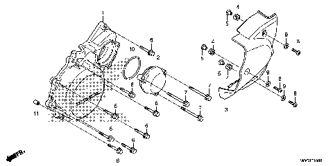
LEFT CRANKCASE COVER
LEFT REAR CRANKCASE COVER
METER
OIL COOLER
OIL PAN@OIL PUMP
PEDAL
REAR BRAKE CALIPER
REAR BRAKE MASTER
REAR FENDER
REAR SHOCK ABSORBER
REAR WHEEL (1)
RIGHT CRANKCASE COVER
SEAT
SIDE COVER
STAND
STARTING CLUTCH
STARTING MOTOR
STEERING STEM
STEP
SUB HARNESS@IGNITION COIL
SWINGARM (1)
SWITCH@CABLE
TAILLIGHT
THROTTLE BODY
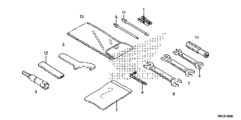
TOOL
TRANSMISSION
TURN SIGNAL
WIRE HARNESS
ABS MODULATOR
AIR CLEANER
AIR INJECTION VALVE
BATTERY
CAM CHAIN@TENSIONER
CAMSHAFT@VALVE
CANISTER
CAUTION LABEL
CLUTCH
CLUTCH MASTER CYLINDER
CRANKCASE
CRANKSHAFT@PISTON
CYLINDER
CYLINDER HEAD
CYLINDER HEAD COVER
EMBLEM
EXHAUST MUFFLER
FRAME
FRONT BRAKE CALIPER
FRONT BRAKE HOSE
FRONT BRAKE MASTER
FRONT FENDER (1)
FRONT FORK (1)
FRONT WHEEL (1)
FUEL TANK@FUEL PUMP
GASKET KIT A
GASKET KIT B
GEARSHIFT DRUM@GEARSHIFT
GENERATOR
HANDLEBAR@TOP BRIDGE
HEADLIGHT
LEFT CRANKCASE COVER
LEFT REAR CRANKCASE COVER
METER
OIL COOLER
OIL PAN@OIL PUMP
PEDAL
REAR BRAKE CALIPER
REAR BRAKE MASTER
REAR FENDER
REAR SHOCK ABSORBER
REAR WHEEL (1)
RIGHT CRANKCASE COVER
SEAT
SIDE COVER
STAND
STARTING CLUTCH
STARTING MOTOR
STEERING STEM
STEP
SUB HARNESS@IGNITION COIL
SWINGARM (1)
SWITCH@CABLE
TAILLIGHT
THROTTLE BODY
TOOL
TRANSMISSION
TURN SIGNAL
WIRE HARNESS
VIEW WISH LIST