Honda
Shop In-Stock
ATVs
Shop In-Stock
Motorcycles
Shop In-Stock
Scooters
Shop In-Stock
Utility Vehicles
Shop In-Stock
11212 E. Kellogg Street
,
Wichita, KS
67207
316-358-7577
(text us)
Toggle navigation
316-358-7577
Wichita, KS
Home
Honda Models
Manufacturer Models
Inventory
All Inventory In Stock
New Inventory In Stock
Pre-Owned Inventory
Value Your Trade-In
Request a Model
Schedule a Test Ride
OEM Promotions
Pre-Qualify Now
Get Financing Now
Sale
Parts
Parts Department
Request Parts
Parts Viewer
Service
Service Department
Schedule Service
Warranty & Recall Look-Up
Financing
Get Financing Now
Pre-Qualify Now
Payment Calculator
About
Our Dealership
Our Team
Social Media
Reviews
Customer Survey
Newsletter Sign-Up
Employment
Events
Locations
Location & Hours
Contact
Parts Viewer
Home
›
Parts
›
Parts Viewer
Search by :
Part / Desc
VIN
Honda
*Please enter at least 3 characters
SEARCH
Manufacturer
Honda
Motorcycles
2017
GROM125 AC
VIEW WISH LIST
Select a Section
Show/Hide
AIR CLEANER
ALTERNATOR@FLYWHEEL
BATTERY
CAM CHAIN@TENSIONER
CAMSHAFT@VALVE
CANISTER (1)
CAUTION LABELS
CLUTCH
CRANKCASE
CRANKSHAFT@PISTON
CYLINDER
CYLINDER HEAD
FRAME
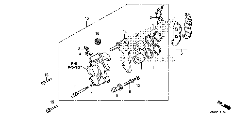
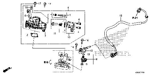
FRONT BRAKE CALIPER
FRONT BRAKE MASTER
FRONT FENDER
FRONT FORK
FRONT WHEEL
FUEL TANK
GASKET KIT A
GASKET KIT B
GEARSHIFT DRUM
HANDLE LEVER@SWITCH@CABLE
HANDLEBAR
HEADLIGHT
HEADLIGHT COVER
LEFT CRANKCASE COVER
MARKS
MIRROR
MUFFLER
OIL PUMP
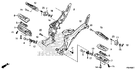
PEDAL
REAR BRAKE CALIPER
REAR BRAKE MASTER
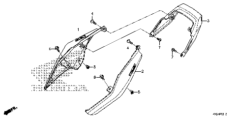
REAR COWL
REAR FENDER
REAR SHOCK ABSORBER
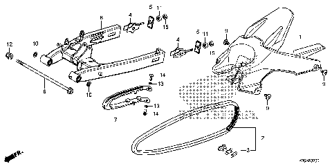
REAR WHEEL
RIGHT CRANKCASE COVER
SEAT
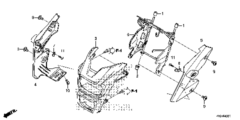
SHROUD
SIDE COVER
SPEEDOMETER
STAND
STARTER MOTOR
STARTING CLUTCH
STEERING STEM
STEP
SWINGARM
TAILLIGHT
THROTTLE BODY
TOOLS
TRANSMISSION
TURN SIGNAL
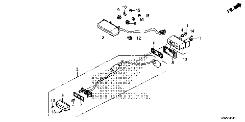
WIRE HARNESS
AIR CLEANER
ALTERNATOR@FLYWHEEL
BATTERY
CAM CHAIN@TENSIONER
CAMSHAFT@VALVE
CANISTER (1)
CAUTION LABELS
CLUTCH
CRANKCASE
CRANKSHAFT@PISTON
CYLINDER
CYLINDER HEAD
FRAME
FRONT BRAKE CALIPER
FRONT BRAKE MASTER
FRONT FENDER
FRONT FORK
FRONT WHEEL
FUEL TANK
GASKET KIT A
GASKET KIT B
GEARSHIFT DRUM
HANDLE LEVER@SWITCH@CABLE
HANDLEBAR
HEADLIGHT
HEADLIGHT COVER
LEFT CRANKCASE COVER
MARKS
MIRROR
MUFFLER
OIL PUMP
PEDAL
REAR BRAKE CALIPER
REAR BRAKE MASTER
REAR COWL
REAR FENDER
REAR SHOCK ABSORBER
REAR WHEEL
RIGHT CRANKCASE COVER
SEAT
SHROUD
SIDE COVER
SPEEDOMETER
STAND
STARTER MOTOR
STARTING CLUTCH
STEERING STEM
STEP
SWINGARM
TAILLIGHT
THROTTLE BODY
TOOLS
TRANSMISSION
TURN SIGNAL
WIRE HARNESS
VIEW WISH LIST