Honda
Shop In-Stock
ATVs
Shop In-Stock
Motorcycles
Shop In-Stock
Scooters
Shop In-Stock
Utility Vehicles
Shop In-Stock
11212 E. Kellogg Street
,
Wichita, KS
67207
316-358-7577
(text us)
Toggle navigation
316-358-7577
Wichita, KS
Home
Honda Models
Manufacturer Models
Inventory
All Inventory In Stock
New Inventory In Stock
Pre-Owned Inventory
Value Your Trade-In
Request a Model
Schedule a Test Ride
OEM Promotions
Pre-Qualify Now
Get Financing Now
Sale
Parts
Parts Department
Request Parts
Parts Viewer
Service
Service Department
Schedule Service
Warranty & Recall Look-Up
Financing
Get Financing Now
Pre-Qualify Now
Payment Calculator
About
Our Dealership
Our Team
Social Media
Reviews
Customer Survey
Newsletter Sign-Up
Employment
Events
Locations
Location & Hours
Contact
Parts Viewer
Home
›
Parts
›
Parts Viewer
Search by :
Part / Desc
VIN
Honda
*Please enter at least 3 characters
SEARCH
Manufacturer
Honda
Motorcycles
2017
VFR1200X AC
VIEW WISH LIST
Select a Section
Show/Hide
ABS MODULATOR
AIR CLEANER
AIR INJECTION CONTROL
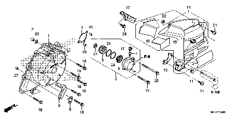
ALTERNATOR COVER
BATTERY
BRAKE HOSE
CAM CHAIN@TENSIONER
CAMSHAFT@VALVE (FR.)
CAMSHAFT@VALVE (RR.)
CANISTER
CAUTION LABEL
CLUTCH (1)
CLUTCH MASTER CYLINDER
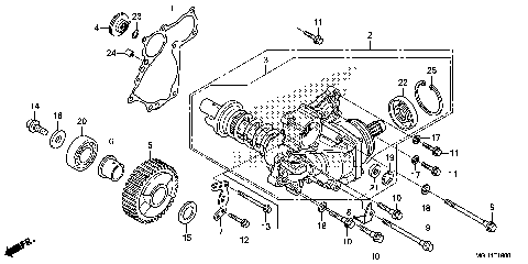
CRANKCASE (1)
CRANKSHAFT@PISTON
CYLINDER HEAD (FR.)
CYLINDER HEAD (RR.)
CYLINDER HEAD COVER
EXHAUST MUFFLER
FINAL DRIVEN GEAR
FRAME
FRONT BRAKE MASTER
FRONT FENDER
FRONT FORK
FRONT WHEEL
FUEL PUMP
FUEL TANK
GASKET KIT A
GASKET KIT B
GEARSHIFT DRUM (1)
GENERATOR
HANDLEBAR@TOP BRIDGE
HEADLIGHT
KNUCKLE GUARD
LEFT FRONT BRAKE CALIPER
LOWER COWL
MARK (1)
METER
MIDDLE COWL
OIL PUMP (1)
PEDAL
RADIATOR
REAR BRAKE CALIPER
REAR BRAKE MASTER
REAR COWL@CARRIER
REAR FENDER
REAR SHOCK ABSORBER
REAR WHEEL
RIGHT CRANKCASE COVER
RIGHT FRONT BRAKE CALIPER
SEAT
SIDE GEAR CASE
STAND
STARTING CLUTCH
STARTING MOTOR
STEERING STEM
STEP
SUB HARNESS
SWINGARM
SWITCH@CABLE@MIRROR (1)
TAILLIGHT
THROTTLE BODY
TOOL
TRANSMISSION
TURN SIGNAL
UPPER COWL
WATER PUMP
WINDSCREEN
WIRE HARNESS
ABS MODULATOR
AIR CLEANER
AIR INJECTION CONTROL
ALTERNATOR COVER
BATTERY
BRAKE HOSE
CAM CHAIN@TENSIONER
CAMSHAFT@VALVE (FR.)
CAMSHAFT@VALVE (RR.)
CANISTER
CAUTION LABEL
CLUTCH (1)
CLUTCH MASTER CYLINDER
CRANKCASE (1)
CRANKSHAFT@PISTON
CYLINDER HEAD (FR.)
CYLINDER HEAD (RR.)
CYLINDER HEAD COVER
EXHAUST MUFFLER
FINAL DRIVEN GEAR
FRAME
FRONT BRAKE MASTER
FRONT FENDER
FRONT FORK
FRONT WHEEL
FUEL PUMP
FUEL TANK
GASKET KIT A
GASKET KIT B
GEARSHIFT DRUM (1)
GENERATOR
HANDLEBAR@TOP BRIDGE
HEADLIGHT
KNUCKLE GUARD
LEFT FRONT BRAKE CALIPER
LOWER COWL
MARK (1)
METER
MIDDLE COWL
OIL PUMP (1)
PEDAL
RADIATOR
REAR BRAKE CALIPER
REAR BRAKE MASTER
REAR COWL@CARRIER
REAR FENDER
REAR SHOCK ABSORBER
REAR WHEEL
RIGHT CRANKCASE COVER
RIGHT FRONT BRAKE CALIPER
SEAT
SIDE GEAR CASE
STAND
STARTING CLUTCH
STARTING MOTOR
STEERING STEM
STEP
SUB HARNESS
SWINGARM
SWITCH@CABLE@MIRROR (1)
TAILLIGHT
THROTTLE BODY
TOOL
TRANSMISSION
TURN SIGNAL
UPPER COWL
WATER PUMP
WINDSCREEN
WIRE HARNESS
VIEW WISH LIST