Honda
Shop In-Stock
ATVs
Shop In-Stock
Motorcycles
Shop In-Stock
Scooters
Shop In-Stock
Utility Vehicles
Shop In-Stock
11212 E. Kellogg Street
,
Wichita, KS
67207
316-358-7577
(text us)
Toggle navigation
316-358-7577
Wichita, KS
Home
Honda Models
Manufacturer Models
Inventory
All Inventory In Stock
New Inventory In Stock
Pre-Owned Inventory
Value Your Trade-In
Request a Model
Schedule a Test Ride
OEM Promotions
Pre-Qualify Now
Get Financing Now
Sale
Parts
Parts Department
Request Parts
Parts Viewer
Service
Service Department
Schedule Service
Warranty & Recall Look-Up
Financing
Get Financing Now
Pre-Qualify Now
Payment Calculator
About
Our Dealership
Our Team
Social Media
Reviews
Customer Survey
Newsletter Sign-Up
Employment
Events
Locations
Location & Hours
Contact
Parts Viewer
Home
›
Parts
›
Parts Viewer
Search by :
Part / Desc
VIN
Honda
*Please enter at least 3 characters
SEARCH
Manufacturer
Honda
Scooters
2007
NSS250 AC
VIEW WISH LIST
Select a Section
Show/Hide
AIR CLEANER
AIR INJECTION CONTROL
BATTERY
BODY COVER
CAM CHAIN
CAMSHAFT@VALVE
CARBURETOR
CRANKCASE
CRANKSHAFT@PISTON
CYLINDER
CYLINDER HEAD
CYLINDER HEAD COVER
DRIVE FACE
DRIVEN FACE
EVAP CANISTER
FLOOR STEP@SIDE SKIRT
FRAME
FRONT BRAKE CALIPER
FRONT BRAKE MASTER
FRONT COVER@WINDSCREEN
FRONT FENDER
FRONT FORK
FRONT WHEEL
FUEL TANK
GASKET KIT A
GASKET KIT B
GENERATOR
HANDLEBAR@HANDLE COVER
HEADLIGHT
INNER BOX
LABELS
LEFT CRANKCASE COVER
LUGGAGE BOX
MARKS
MUFFLER
OIL PUMP
PARKING BRAKE
RADIATOR
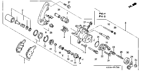
REAR BRAKE CALIPER
REAR BRAKE MASTER
REAR BRAKE PIPE
REAR COMBINATION LIGHT
REAR SHOCK ABSORBER
REAR WHEEL
RIGHT CRANKCASE COVER
SEAT@REAR SPOILER
SPEEDOMETER
SPORT TOURING TRUNKS
STAND
STARTING MOTOR
STEERING STEM
SWITCH@CABLE
TOOLS
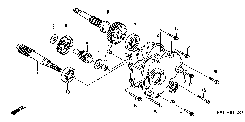
TRANSMISSION
TURN SIGNAL
WATER PUMP
WIRE HARNESS
AIR CLEANER
AIR INJECTION CONTROL
BATTERY
BODY COVER
CAM CHAIN
CAMSHAFT@VALVE
CARBURETOR
CRANKCASE
CRANKSHAFT@PISTON
CYLINDER
CYLINDER HEAD
CYLINDER HEAD COVER
DRIVE FACE
DRIVEN FACE
EVAP CANISTER
FLOOR STEP@SIDE SKIRT
FRAME
FRONT BRAKE CALIPER
FRONT BRAKE MASTER
FRONT COVER@WINDSCREEN
FRONT FENDER
FRONT FORK
FRONT WHEEL
FUEL TANK
GASKET KIT A
GASKET KIT B
GENERATOR
HANDLEBAR@HANDLE COVER
HEADLIGHT
INNER BOX
LABELS
LEFT CRANKCASE COVER
LUGGAGE BOX
MARKS
MUFFLER
OIL PUMP
PARKING BRAKE
RADIATOR
REAR BRAKE CALIPER
REAR BRAKE MASTER
REAR BRAKE PIPE
REAR COMBINATION LIGHT
REAR SHOCK ABSORBER
REAR WHEEL
RIGHT CRANKCASE COVER
SEAT@REAR SPOILER
SPEEDOMETER
SPORT TOURING TRUNKS
STAND
STARTING MOTOR
STEERING STEM
SWITCH@CABLE
TOOLS
TRANSMISSION
TURN SIGNAL
WATER PUMP
WIRE HARNESS
VIEW WISH LIST