Honda
Shop In-Stock
ATVs
Shop In-Stock
Motorcycles
Shop In-Stock
Scooters
Shop In-Stock
Utility Vehicles
Shop In-Stock
11212 E. Kellogg Street
,
Wichita, KS
67207
316-358-7577
(text us)
Toggle navigation
316-358-7577
Wichita, KS
Home
Honda Models
Manufacturer Models
Inventory
All Inventory In Stock
New Inventory In Stock
Pre-Owned Inventory
Value Your Trade-In
Request a Model
Schedule a Test Ride
OEM Promotions
Pre-Qualify Now
Get Financing Now
Sale
Parts
Parts Department
Request Parts
Parts Viewer
Service
Service Department
Schedule Service
Warranty & Recall Look-Up
Financing
Get Financing Now
Pre-Qualify Now
Payment Calculator
About
Our Dealership
Our Team
Social Media
Reviews
Customer Survey
Newsletter Sign-Up
Employment
Events
Locations
Location & Hours
Contact
Parts Viewer
Home
›
Parts
›
Parts Viewer
Search by :
Part / Desc
VIN
Honda
*Please enter at least 3 characters
SEARCH
Manufacturer
Honda
Scooters
2023
NPS50 2AC
VIEW WISH LIST
Select a Section
Show/Hide
AIR CLEANER
ALTERNATOR STATOR
CAM CHAIN@TENSIONER
CAMSHAFT@VALVE
CARBURETOR
CAUTION LABELS
COOLING FAN@RADIATOR
CRANKCASE
CRANKSHAFT
CYLINDER HEAD
CYLINDER HEAD COVER
DRIVE FACE@KICK STARTER
DRIVEN FACE
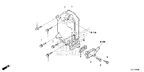
FLOOR STEP
FRAME
FRONT COVER@BATTERY
FRONT FENDER
FRONT FORK@STEERING STEM
FRONT WHEEL
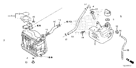
FUEL TANK
GASKET KIT A
GASKET KIT B
HANDLE LEVER@SWITCH@CABLE
HANDLEBAR
HEADLIGHT
MARKS
MUFFLER
OIL PUMP
RADIATOR
REAR FENDER
REAR SHOCK ABSORBER
REAR WHEEL
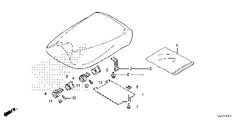
SEAT
SPEEDOMETER
STAND@KICK STARTER ARM
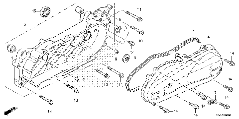
SWINGARM@LEFT SIDE COVER
TAILLIGHT
TOOLS
TRANSMISSION
TURN SIGNAL
VENTILATION VALVE
WATER PUMP
WIRE HARNESS
AIR CLEANER
ALTERNATOR STATOR
CAM CHAIN@TENSIONER
CAMSHAFT@VALVE
CARBURETOR
CAUTION LABELS
COOLING FAN@RADIATOR
CRANKCASE
CRANKSHAFT
CYLINDER HEAD
CYLINDER HEAD COVER
DRIVE FACE@KICK STARTER
DRIVEN FACE
FLOOR STEP
FRAME
FRONT COVER@BATTERY
FRONT FENDER
FRONT FORK@STEERING STEM
FRONT WHEEL
FUEL TANK
GASKET KIT A
GASKET KIT B
HANDLE LEVER@SWITCH@CABLE
HANDLEBAR
HEADLIGHT
MARKS
MUFFLER
OIL PUMP
RADIATOR
REAR FENDER
REAR SHOCK ABSORBER
REAR WHEEL
SEAT
SPEEDOMETER
STAND@KICK STARTER ARM
SWINGARM@LEFT SIDE COVER
TAILLIGHT
TOOLS
TRANSMISSION
TURN SIGNAL
VENTILATION VALVE
WATER PUMP
WIRE HARNESS
VIEW WISH LIST