Honda
Shop In-Stock
ATVs
Shop In-Stock
Motorcycles
Shop In-Stock
Scooters
Shop In-Stock
Utility Vehicles
Shop In-Stock
11212 E. Kellogg Street
,
Wichita, KS
67207
316-358-7577
(text us)
Toggle navigation
316-358-7577
Wichita, KS
Home
Honda Models
Manufacturer Models
Inventory
All Inventory In Stock
New Inventory In Stock
Pre-Owned Inventory
Value Your Trade-In
Request a Model
Schedule a Test Ride
OEM Promotions
Pre-Qualify Now
Get Financing Now
Sale
Parts
Parts Department
Request Parts
Parts Viewer
Service
Service Department
Schedule Service
Warranty & Recall Look-Up
Financing
Get Financing Now
Pre-Qualify Now
Payment Calculator
About
Our Dealership
Our Team
Social Media
Reviews
Customer Survey
Newsletter Sign-Up
Employment
Events
Locations
Location & Hours
Contact
Parts Viewer
Home
›
Parts
›
Parts Viewer
Search by :
Part / Desc
VIN
Honda
*Please enter at least 3 characters
SEARCH
Manufacturer
Honda
Utility Vehicles
2017
SXS1000M3L
VIEW WISH LIST
Select a Section
Show/Hide
AIR CLEANER
ALTERNATOR
ALTERNATOR COVER
BATTERY
BED
BED PLATE@REAR GATE (1)
BED PLATE@REAR GATE (2)
BRAKE PIPE (1)
BRAKE PIPE (2)
CAM CHAIN@TENSIONER
CAMSHAFT@VALVE
CAUTION LABEL
CLUTCH
CONTROL MOTOR
CRANKCASE
CRANKSHAFT@PISTON
CYLINDER HEAD
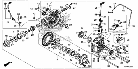
FINAL DRIVE SHAFT
FINAL DRIVEN GEAR
FINAL DRIVEN SHAFT
FLOOR COVER
FRAME
FRONT ARM
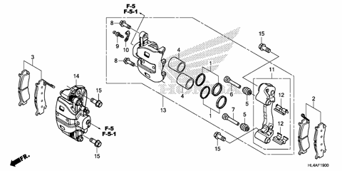
FRONT BRAKE CALIPER
FRONT BRAKE MASTER
FRONT CUSHION (1)
FRONT CUSHION (2)
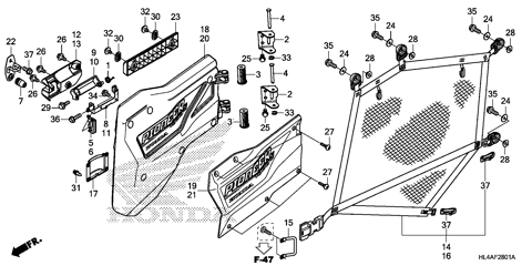
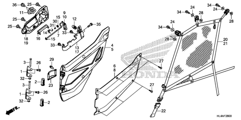
FRONT DOOR
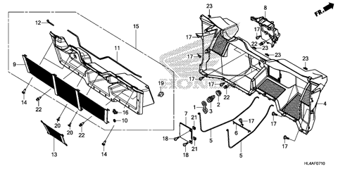
FRONT FENDER@HOOD
FRONT FINAL GEAR (1)
FRONT FINAL GEAR (2)
FRONT GRILLE@FRONT BUMPER
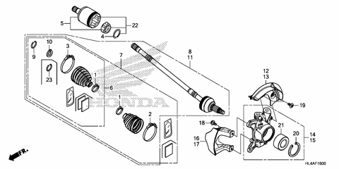
FRONT KNUCKLE@DRIVESHAFT
FRONT SEAT
FUEL PUMP
FUEL TANK
GASKET KIT A
GASKET KIT B
GEARSHIFT FORK
GEARSHIFT FORK (SUB
HEADLIGHT (1)
HEADLIGHT (2)
INSTRUMENT PANEL
MARK
METER@SWITCH (1)
METER@SWITCH (2)
MUFFLER
OIL COOLER
OIL PAN
OIL PUMP
PEDAL
PROPELLER SHAFT
RADIATOR
REAR ARM@REAR STABILIZER
REAR BRAKE CALIPER
REAR DOOR
REAR KNUCKLE@REAR
REAR SEAT
REAR SHOCK ABSORBER (1)
REAR SHOCK ABSORBER (2)
ROLL BAR
SEAT BELT
SEAT BOTTOM COVER
SHIFT LEVER@SELECT LEVER
SIDE COVER
SKID PLATE
SOLENOID VALVE
STARTING CLUTCH
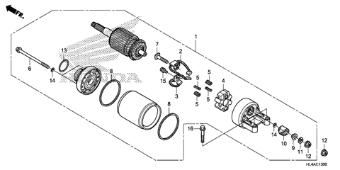
STARTING MOTOR
STEERING GEAR BOX@TIE ROD
STEERING SHAFT
STEERING SHAFT (EPS)
STEERING WHEEL
SUB-TRANSMISSION CASE
TAILLIGHT
THROTTLE BODY
TOOLS
TRANSMISSION
VSA MODULATOR
WATER HOSE@THERMOSTAT
WATER PIPE@WATER HOSE
WHEEL
WIRE HARNESS
AIR CLEANER
ALTERNATOR
ALTERNATOR COVER
BATTERY
BED
BED PLATE@REAR GATE (1)
BED PLATE@REAR GATE (2)
BRAKE PIPE (1)
BRAKE PIPE (2)
CAM CHAIN@TENSIONER
CAMSHAFT@VALVE
CAUTION LABEL
CLUTCH
CONTROL MOTOR
CRANKCASE
CRANKSHAFT@PISTON
CYLINDER HEAD
FINAL DRIVE SHAFT
FINAL DRIVEN GEAR
FINAL DRIVEN SHAFT
FLOOR COVER
FRAME
FRONT ARM
FRONT BRAKE CALIPER
FRONT BRAKE MASTER
FRONT CUSHION (1)
FRONT CUSHION (2)
FRONT DOOR
FRONT FENDER@HOOD
FRONT FINAL GEAR (1)
FRONT FINAL GEAR (2)
FRONT GRILLE@FRONT BUMPER
FRONT KNUCKLE@DRIVESHAFT
FRONT SEAT
FUEL PUMP
FUEL TANK
GASKET KIT A
GASKET KIT B
GEARSHIFT FORK
GEARSHIFT FORK (SUB
HEADLIGHT (1)
HEADLIGHT (2)
INSTRUMENT PANEL
MARK
METER@SWITCH (1)
METER@SWITCH (2)
MUFFLER
OIL COOLER
OIL PAN
OIL PUMP
PEDAL
PROPELLER SHAFT
RADIATOR
REAR ARM@REAR STABILIZER
REAR BRAKE CALIPER
REAR DOOR
REAR KNUCKLE@REAR
REAR SEAT
REAR SHOCK ABSORBER (1)
REAR SHOCK ABSORBER (2)
ROLL BAR
SEAT BELT
SEAT BOTTOM COVER
SHIFT LEVER@SELECT LEVER
SIDE COVER
SKID PLATE
SOLENOID VALVE
STARTING CLUTCH
STARTING MOTOR
STEERING GEAR BOX@TIE ROD
STEERING SHAFT
STEERING SHAFT (EPS)
STEERING WHEEL
SUB-TRANSMISSION CASE
TAILLIGHT
THROTTLE BODY
TOOLS
TRANSMISSION
VSA MODULATOR
WATER HOSE@THERMOSTAT
WATER PIPE@WATER HOSE
WHEEL
WIRE HARNESS
VIEW WISH LIST