Honda
Shop In-Stock
ATVs
Shop In-Stock
Motorcycles
Shop In-Stock
Scooters
Shop In-Stock
Utility Vehicles
Shop In-Stock
11212 E. Kellogg Street
,
Wichita, KS
67207
316-358-7577
(text us)
Toggle navigation
316-358-7577
Wichita, KS
Home
Honda Models
Manufacturer Models
Inventory
All Inventory In Stock
New Inventory In Stock
Pre-Owned Inventory
Value Your Trade-In
Request a Model
Schedule a Test Ride
OEM Promotions
Pre-Qualify Now
Get Financing Now
Sale
Parts
Parts Department
Request Parts
Parts Viewer
Service
Service Department
Schedule Service
Warranty & Recall Look-Up
Financing
Get Financing Now
Pre-Qualify Now
Payment Calculator
About
Our Dealership
Our Team
Social Media
Reviews
Customer Survey
Newsletter Sign-Up
Employment
Events
Locations
Location & Hours
Contact
Parts Viewer
Home
›
Parts
›
Parts Viewer
Search by :
Part / Desc
VIN
Honda
*Please enter at least 3 characters
SEARCH
Manufacturer
Honda
Utility Vehicles
2017
SXS700M2D 2AC
VIEW WISH LIST
Select a Section
Show/Hide
2-PIECE POLY WINDSCREEN
ACCESSORIES
AIR CLEANER
ALTERNATOR
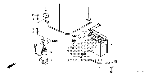
BATTERY
BED
BED PLATE@REAR GATE (1)
BRAKE MASTER CYLINDER
BRAKE PIPE
CAM CHAIN@TENSIONER
CAMSHAFT@VALVE
CAUTION LABEL
CLUTCH (2-3)
CLUTCH (LOW)
CRANKCASE
CRANKSHAFT@PISTON
CYLINDER
CYLINDER HEAD
FINAL DRIVEN GEAR
FINAL SHAFT
FRAME
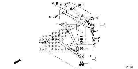
FRONT ARM
FRONT BRAKE CALIPER
FRONT CRANKCASE COVER
FRONT DOOR
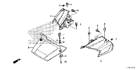
FRONT FENDER@HOOD
FRONT FINAL GEAR
FRONT GRILLE@FRONT BUMPER
FRONT KNUCKLE@DRIVESHAFT
FRONT SEAT
FRONT SHOCK ABSORBER
FUEL PUMP
FUEL TANK
GASKET KIT A
GASKET KIT B
GEARSHIFT FORK
HARD FRONT DOORS
HEADLIGHT
INSTRUMENT PANEL
MAIN VALVE BODY
MARK
MUFFLER
OIL COOLER
OIL PUMP
PARKING BRAKE
PEDAL
PROPELLER SHAFT
RADIATOR
REAR ARM
REAR BRAKE CALIPER
REAR CRANKCASE COVER
REAR KNUCKLE@REAR
REAR SHOCK ABSORBER
REVERSE GEAR
ROLL BAR
SEAT BELT
SEAT BOTTOM COVER
SHIFT LEVER@SELECT LEVER
SIDE COVER
STARTING GEAR
STARTING MOTOR (1)
STEERING GEAR BOX@TIE ROD
STEERING WHEEL@STEERING
SWITCH@METER
TAILLIGHT
THROTTLE BODY
TOOL
TORQUE CONVERTER
TRANSMISSION
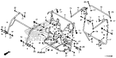
WATER PIPE@WATER HOSE
WATER PUMP
WHEEL
WINDSHIELD WIPER KIT
WIRE HARNESS
2-PIECE POLY WINDSCREEN
ACCESSORIES
AIR CLEANER
ALTERNATOR
BATTERY
BED
BED PLATE@REAR GATE (1)
BRAKE MASTER CYLINDER
BRAKE PIPE
CAM CHAIN@TENSIONER
CAMSHAFT@VALVE
CAUTION LABEL
CLUTCH (2-3)
CLUTCH (LOW)
CRANKCASE
CRANKSHAFT@PISTON
CYLINDER
CYLINDER HEAD
FINAL DRIVEN GEAR
FINAL SHAFT
FRAME
FRONT ARM
FRONT BRAKE CALIPER
FRONT CRANKCASE COVER
FRONT DOOR
FRONT FENDER@HOOD
FRONT FINAL GEAR
FRONT GRILLE@FRONT BUMPER
FRONT KNUCKLE@DRIVESHAFT
FRONT SEAT
FRONT SHOCK ABSORBER
FUEL PUMP
FUEL TANK
GASKET KIT A
GASKET KIT B
GEARSHIFT FORK
HARD FRONT DOORS
HEADLIGHT
INSTRUMENT PANEL
MAIN VALVE BODY
MARK
MUFFLER
OIL COOLER
OIL PUMP
PARKING BRAKE
PEDAL
PROPELLER SHAFT
RADIATOR
REAR ARM
REAR BRAKE CALIPER
REAR CRANKCASE COVER
REAR KNUCKLE@REAR
REAR SHOCK ABSORBER
REVERSE GEAR
ROLL BAR
SEAT BELT
SEAT BOTTOM COVER
SHIFT LEVER@SELECT LEVER
SIDE COVER
STARTING GEAR
STARTING MOTOR (1)
STEERING GEAR BOX@TIE ROD
STEERING WHEEL@STEERING
SWITCH@METER
TAILLIGHT
THROTTLE BODY
TOOL
TORQUE CONVERTER
TRANSMISSION
WATER PIPE@WATER HOSE
WATER PUMP
WHEEL
WINDSHIELD WIPER KIT
WIRE HARNESS
VIEW WISH LIST